МЕДИКО-
БИОЛОГИЧЕСКИЕ ПРОБЛЕМЫ СПОРТА


Abstract

WAYS OF QUANTUM BIOPHYSICS TECHNOLOGY USE IN ELITE ATHLETES TRAINING

P.V. Bundzen, Dr. Med, professor

K.G. Korotkov, Dr. Tech., professor

O.I. Makarenko, Ph. D.

St.-Petersburg scientific research institute of physical culture

St.-Petersburg technical university of information technologies, mechanics and optics

Key words: quantum biophysics, bioelectrography, functional diagnostics, psychophysical potential, genetypezation, sports selection and forecast.

The new bioelectrographical technology of the functional express-diagnostics of the phychophysical potential of elite athletes, basing on the modern achievements of the quantum biophysics and medicine are presented in this paper. The quantum mechanisms of biopower processes and design features of the hardware-software complex for their studying were considered. The results of complex researches on the approbation of the developed technology for the selection of athletes of an Olympic reserve in the view of their genetypical features, and also the automated rating of the functional preparedness of elite athletes are given.


РЕЗУЛЬТАТЫ И ПЕРСПЕКТИВЫ ИСПОЛЬЗОВАНИЯ ТЕХНОЛОГИИ КВАНТОВОЙ БИОФИЗИКИ В ПОДГОТОВКЕ ВЫСОКОКВАЛИФИЦИРОВАННЫХ СПОРТСМЕНОВ

Доктор медицинских наук, профессор П.В. Бундзен
Доктор технических наук, профессор К.Г. Коротков
Кандидат педагогических наук О.И. Макаренко

Санкт-Петербургский научно-исследовательский институт физической культуры
Санкт-Петербургский технический университет информационных технологий, механики и оптики

Ключевые слова: квантовая биофизика, ГРВ-биоэлектрография, функциональная диагностика, психофизический потенциал, генотипизация, спортивный отбор и прогноз.

Концепция развития физической культуры и спорта в Российской Федерации на период до 2005 г. специальное внимание уделяет использованию в практике подготовки высококвалифицированных спортсменов передовых научных технологий [1].

В настоящее время не вызывает сомнений тот факт, что одним из новейших научно-технических достижений на грани ХХI столетия являются технологии квантовой биофизики и медицины [2, 13, 18].

Как известно, основу квантовой биофизики составляет изучение электронной структуры биологически важных макромолекул и путей превращения энергии в организме на электронном уровне. Развитые методы регистрации спектров люминесценции используют для решения многих проблем биологии, медицины, сельского хозяйства и других отраслей.

В последние годы получило развитие еще одно направление квантовой биофизики - исследование функционирования биологических объектов, и в частности психофизиологического состояния человека, методом газоразрядной визуализации (ГРВ) [15, 16]. Метод ГРВ основан на регистрации оптоэлектронной эмиссии биологического объекта, стимулированной импульсами электромагнитного поля.

Протекание импульсного электрического тока в непроводящих биологических тканях может обеспечиваться межмолекулярным переносом возбужденных электронов по механизму туннельного эффекта с активированных перескоком электронов в контактной области между макромолекулами [20]. В связи с этим можно предположить, что формирование специфических структурно-белковых комплексов в толще эпидермиса и дермиса кожи обеспечивает образование каналов повышенной электронной проводимости, экспериментально измеряемых на поверхности эпидермиса как электропунктурные точки. Гипотетически наличие таких каналов в толще соединительной ткани может быть ассоциировано с "энергетическими" меридианами [17]. Иными словами, понятие переноса "энергии", характерное для представлений восточной медицины и режущее слух человеку с европейским образованием и научными традициями, может быть ассоциировано с транспортом электронновозбужденных состояний по молекулярным белковым комплексам. При необходимости совершения физической или умственной работы электроны, распределенные в белковых структурах, транспортируются в соответствующие структурно -функциональные комплексы и могут обеспечивать повышение коэффициента полезного действия окислительного фосфорилирования, то есть энергетического обеспечения функционирования локальной системы [12]. Таким образом, организм, по-видимому, может формировать функционально лабильные энергетические депо, являющиеся базисом для совершения работы, требующей мгновенной мобилизации и огромных энергоресурсов в условиях сверхбольших нагрузок, характерных, например, для спорта высших достижений.

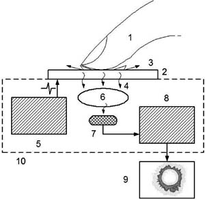
Рис. 1а. Схематическое изображение ГВР прибора. 1 - объект исследования; 2 - прозрачный электрод; 3 - газовый разряд; 4 - оптическое излучение; 5 - генератор; 6 - оптическая система; 7,8 - видеопреобразователь; 9 - компьютер; 10 - корпус

Принцип метода ГРВ заключается в следующем рис.1а): между исследуемым объектом (1) и диэлектрической пластиной (2), на которой размещается объект, подаются импульсы напряжения длительностью 10 мкс от генератора электромагнитного поля (5), из-за чего на обратной стороне пластины (2) развивается лавинный и/или скользящий разряд, параметры которого определяются свойствами объекта. Свечение разряда с помощью оптической системы и ПЗС-камеры (6-8) преобразуется в видеосигналы, которые фиксируются в памяти компьютера (9) в виде одиночных кадров биоэлектрограмм (БЭО-грамм). Обработка производится с помощью специализированного программного комплекса, который позволяет вычислять набор параметров БЭО-грамм и на их основе делать определенные диагностические заключения.

Аппаратный комплекс "Коррекс", используемый при проведении ГРВ-графии, соответствует требованиям нормативных документов безопасности и разрешен к применению Комитетом по новой медицинской технике МЗ РФ и Госстандартом России с 1999 года, регистрационный номер в государственном реестре медицинских изделий № 29/06111299/3064-02 от 23 января 2002 г.

Для характеристики БЭО-грамм используются следующие показатели: площадь газоразрядного изображения, нормализованная площадь, интегральный коэффициент площади, энтропия изображения и коэффициент фрактальности. Исследуются значения этих показателей для каждого пальца руки, средние значения показателей для пальцев обеих рук и отдельно для правой и левой, определяются величины параметров в секторах проекционных зон функциональных систем, предложенных P. Mandel (1986) в модификации К.Г. Короткова [15] (рис.1 б). У практически здоровых людей величины колебаний параметров БЭО-грамм (среднесуточная и средняя 10-минутная) составляют соответственно 6,6 и 4,1%. Сформированный в ходе совместных исследований со специалистами США, Швеции, Финляндии и Словакии банк данных позволил определить зону нормы для вышеуказанных параметров БЭО-грамм, характерных для практически здоровых людей разных возрастных групп и пола [16].

Апробация технологии ГРВ-биоэлектрографии в спорте была проведена в 1999 - 2002 гг. на базе Северо-Западной Олимпийской Академии России (президент - академик В.У. Агеевец) в совместных исследованиях СПбНИИФК и Академии физической культуры им. П.Ф. Лесгафта. В исследованиях приняли участие чемпионы Олимпийских игр и высококвалифицированные спортсмены училищ олимпийского резерва № 1, 2 и Центра олимпийской подготовки Санкт-Петербурга (средний возраст - 18,3±3,5 года), среди них 15 мастеров спорта международного класса, 26 мастеров спорта и 42 кандидата в мастера спорта. Всего в комплексных лонгитюдных исследованиях было проведено более 348 человеко-обследований. По данным углубленных медицинских обследований, все спортсмены были практически здоровы и активно выступали на международных соревнованиях и в сборных России и города в видах спорта, где тренировка на выносливость является доминирующей: в современном пятиборье, триатлоне, лыжных гонках, конькобежном спорте, академической гребле и плавании.

Рис 1б. ГРВ-диаграмма практически здорового человека. Сектора диаграммы соответствуют проекцион ным зонам функциональных систем организма. Левая и правая диаграммы построены по параметру JS пальцев левой и правой руки. Две кривые соответствуют состояниям человека в разные дни одной недели

Рис. 2а. Типизация БЭО-грамм у группы практически здоровых обследованных (слева) и высококва лифицированных спортсменов, тренирующихся в виде спорта на выносливость (справа). Выборки аналогичны по числу обследованных (65 человек), соотношению лиц женского и мужского пола (45-55%) и возрасту (18,1 ± 2,3 года)

Рис. 2б. Результаты кластерного анализа для группы высококвалифицированных спортсменов УОР-2 С.-Петербурга (директор - И.И. Комаров). По осям отложены ГРВ параметр JSL для левой руки и дисперсия этого параметра DJSR для правой руки. Ось R представляет рейтинг спортсменов по результатам годового соревновательного цикла. Видно, что разделение спортсменов на группы по величине ГРВ параметров коррелирует с эффективностью соревнова тельной деятельности

Полученные результаты свидетельствуют, что высококвалифицированные спортсмены имеют ряд характерных особенностей паттернов БЭО-грамм. Во-первых, их БЭО-граммы отличаются относительно высокой степенью структурированности по сравнению с испытуемыми (абитуриенты и студенты спортивных и неспортивных вузов того же возраста) контрольных групп. Максимальная структурированность БЭО-грамм обнаружена у спортсменов-пловцов высокой квалификации. Во-вторых, следует отметить, что с большой степенью вероятности (87% случаев) БЭО-граммы высококвалифицированных спортсменов, тренирующихся на выносливость, относятся к типам IIа и IIб по классификации, принятой в ГРВ-биоэлектрографии (рис. 2а). При этом крайне существенно, что как комбинаторика типов БЭО-грамм, так и их базовые параметры (площадь, фрактальные и энтропийные характеристики) достоверно различаются (р<0,05 - 0,01) у групп спортсменов, имеющих различную степень функциональной готовности, которая определялась по данным тестирования стандартными верифицирующими методами (рис. 2б). Многопараметрический (корреляционный и факторный) статистический анализ, проведенный с учетом экспертных оценок эффективности соревновательной деятельности спортсменов [14], подтвердил (р<0,05) дифференциально-диагностическую значимость параметров БЭО-грамм для определения их психофизической выносливости [6, 7].

Вторая важная закономерность, обнаруженная в ходе исследований, - устойчивая связь базовых параметров БЭО-грамм с генотипическими характеристиками спортсменов, определяющими их психофизическую выносливость. Для оценки генотипических возможностей спортсменов в совместных исследованиях со специалистами по молекулярной генетике и сотрудниками Академии физической культуры им. П.Ф. Лесгафта был использован метод определения генотипов ангиотензинпревращающего фермента (АПФ), внедренный в секторе биохимии спорта СПбНИИФКа В.А. Рогозкиным (патент РФ 2002 года).

Как видно из таблицы, обнаруживается статистически достоверная зависимость между генотипами АПФ, определяющими предрасположенность спортсменов к мышечной работе, и базовыми параметрами БЭО-грамм (см. подробнее [8]).

Различия базовых параметров БЭО-грамм в группах спортсменов с различными генотипами ангиотензинпревращающего фермента

Параметры

Группа 1 Группа 2 Группа 3 Достоверность различия, р
Генотип II Генотип ID Генотип DD 1 -2 1 -3 2-3

Коэффициент формы

2,15±0,03 2,30±0,06 2,50±0,13 р<0,05 р<0,02 р<0,05

Длина медианы

2,03±0,31 2,29±1,11 6,51±1,43

-

р<0,001 р<0,001

Площадь

3942±1123 8108±1597 4134±1362

-

р<0,001 р<0,001

Длина разрывов

0,04±0,03 0,14±0,05 0,28±0,19 р<0,05 р<0,001 р<0,001

Энтропия

3,32±0,11 2,08±0,11 1,95±0,41 р<0,05 р<0,01

-

Рис. 3. Взаимосвязь рейтинга высококвалифи цированных спортсменов по психофизическому потенциалу с относительным количеством спортсменов, находящихся в благоприятных триместрах индивидуального года. Рейтинг определялся по программе GDV APPS (см. текст), группы включают по 25 спортсменов, межгрупповые различия достоверны по критерию Манна-Уитни

Рис. 4. Пример трансформации параметров БЭО-грамм высококвалифицированных спортсменов, прошедших курс ментальной подготовки, в условиях имитационного моделирования стартового состояния. Слева БЭО-граммы в состоянии покоя, справа - в условиях идеомоторного моделирова ния стартового состояния

Таким образом, параметры БЭО-грамм высококвалифицированных спортсменов, регистрируемые в состоянии относительного покоя, важны для объективизации психоэнергетических функциональных резервов спортсменов, характеризующих их психофизический потенциал 1.

При этом крайне важно подчеркнуть, что если с учетом хронобиологии [4, 11, 22] оценить психофизический потенциал спортсменов на момент проведения обследований, то обнаруживается другая закономерность - связь параметров БЭО-грамм с периодами их индивидуального года.

Проверка данной закономерности на большом контингенте юных высококвалифицированных спортсменов показала, что те из них, кто находится в так называемых благоприятных периодах индивидуального года, отличаются, по данным ГРВ-биоэлектрографии, наиболее высоким уровнем психоэнергетических функциональных резервов (рис. 3).

С учетом вышеизложенного, а также специфики современных стратегий подготовки спортсменов [3] есть все основания полагать, что параметры БЭО-грамм, отражающие как "консервативные" (генетические), так и "лабильные" признаки (актуальное функциональное состояние спортсмена на данный момент), можно использовать в качестве маркеров долгосрочного и краткосрочного прогнозов готовности спортсменов к соревнованиям.

Последнее тем более правомерно, что использование в исследованиях функциональной нагрузки в виде имитационного моделирования условий соревновательной деятельности ("вызванное стартовое состояние") свидетельствует о том, что высококвалифицированные спортсмены, отличающиеся оптимальной психофизической готовностью по данным психологического и психофизиологического обследований, обладают способностью к экстренной идеомоторной модуляции паттернов БЭО-грамм. Выявленный феномен выражается в усилении фрагментации БЭО-грамм и образовании в ряде случаев мощных выбросов дистантной эмиссии (рис. 4). Исследования, проведенные совместно со специалистами Скандинавского международного университета (Швеция) и Университета Куопио (Финляндия) [21], дают основания считать, что специфическим условием формирования дистантной эмиссии является способность спортсмена к произвольному экстренному и краткосрочному погружению в так называемое альтернативное состояние сознания (АСС) [5]. При этом необходимо отметить, что из практики олимпийского спорта известно: пик спортивного достижения во многих видах спорта связан именно со способностью спортсмена к краткосрочному погружению в АСС [9, 10, 21].

 

Имя

GDVHIN

ВеоР

Endur

GDVSIN

Rating

1

З-в И.

0,72 1 0,83 0,52 0,71
2

Г-н А.

0,5 0,75 0,83 0,72 0,69
3

Г-ш А.

0,67 0,88 0,83 0,43 0,68
4

Д-н Р.

0,62 1 0,83 0,46 0,67
5

К-а А.

0,56 0,88 0,83 0,53 0,66
6

Х-в И.

0,81 1 0,5 0,48 0,64
7

С-в Д.

0,68 0,88 0,5 0,39 0,61
8

Р-в В.

0,63 0,88 0,5 0,37 0,55
9

Ш-в О.

0,55 0,63 0,5 0,37 0,52
10

К-а Л.

0,59 0,63 0,67 0,29 0,51
11

Л-а Е.

0,65 0,75 0,33 0,34 0,51
12

С-а Н.

0,6 0,75 0,33 0,41 0,5
13

Г-а П.

0,49 0,5 0,67 0,33 0,49
14

Н-а В.

0,72 0,5 0,83 0 0,49
15

С-н М.

0,72 0,75 0,5 0,05 0,48
16

П-в Д.

0,75 1 0,33 0,01 0,47
17

Т-в А.

0,51 0,5 0,67 0,25 0,46
18

Б-в В.

0,48 0,5 0,67 0,25 0,46
19

С-в Р.

0,57 0,5 0,67 0,07 0,45
20

М-а М.

0,44 0,5 0,33 0,46 0,43
21

Ж-к М.

0,31 0,5 0,5 0,49 0,43
22

Л-н Н.

0,55 0,5 0,5 0,18 0,43
23

В-в А.

0,71 0,63 0,33 0,09 0,43
24

Л-в Б.

0,54 0,5 0,67 0,05 0,42
25

К-в М.

0,66 0,25 0,67 0 0,42
26

Б-в А.

0,59 0,63 0,33 0,25 0,42
27

З-в И.

0,48 0,5 0,67 0 0,39
28

Ш-н А.

0,63 0,5 0,5 0 0,39
29

К-я В.

0,57 0,5 0,5 0 0,38
30

Е-в В.

0,71 0,5 0,33 0 0,37
31

С-а О.

0,56 0,5 0,33 0,13 0,36
32

С-н И.

0,55 0,5 0,33 0 0,35
33

М-н Ю.

0,59 0,5 0,33 0 0,34
34

Ф-а А.

0,58 0,5 0,33 0,01 0,34
35

З-в Ю.

0,57 0,38 0,33 0 0,33
36

Я-н Д.

0,47 0,38 0,5 0 0,33
37

Т-в В.

0,41 0,25 0,33 0 0,31
38

С-в А.

0,49 0,38 0,33 0  0,29
39

Л-н Л.

0,46 0,25 0,33 0,02 0,29
40

М-а А.

0,44 0,25 0,33 0 0,28

Рис. 5. Пример построения рейтинга обследованных спортсменов УОР-1 (директор - В.М. Лебединский) по уровню психофизического потенциала (программа GDV APPS) . 1-18 - группа спортсменов с высокими психоэнергетическими возможностями, 19-31 - группа спортсменов со сниженными функциональ ными резервами, 32-40 - группа спортсменов с явлениями энергодефицита (снижение качества здоровья)

Основываясь на вышеизложенном, в 2000 - 2001 гг. специалисты кафедры проектирования компьютерных систем Санкт-Петербургского технического университета (ГИТМО) разработали прототип экспертной системы для скрининговой оценки психофизического потенциала высококвалифицированных спортсменов - "КВАНТУМ-ПРО". Основу комплекса составляет блок компьютерных программ "GDV APPS" [16], предназначенный для экспресс-анализа БЭО-грамм и определения следующих функциональных параметров: общего уровня биоэнергетического потенциала (в шкале "энергоизбыточность - норма - энергодефицит"); уровня психоэнергетического потенциала, непосредственно связанного с качеством психофизической выносливости; уровня стресс-толерантности и способности к психоэнергетической мобилизации. Ввод данных в компьютер осуществляется с помощью оптико-цифровой системы "Компакт" и занимает не более 10 мин на одного обследуемого. Обработка данных позволяет практически в реальном масштабе времени получить персонифицированные характеристики спортсмена по указанным выше функциональным параметрам и в дальнейшем групповой рейтинг по всем обследованным (рис. 5). Таким образом, система "КВАНТУМ-ПРО" способна оперативно предоставить тренерско-преподавательскому составу экспертную оценку, отражающую сравнительный уровень функциональной готовности обследованных спортсменов к соревновательной деятельности. Результаты апробации диагностического блока в училищах олимпийского резерва Санкт-Петербурга в 2001 - 2002 гг. дают основание считать, что метод скрининговой квантово-полевой диагностики может быть использован для оценки перспективности спортсменов и оптимизации управления учебно-тренировочным процессом при подготовке олимпийского резерва.

Заключение. Проведенные исследования свидетельствуют, что использование в системе спортивной функциональной диагностики ГРВ-биоэлектрографии, позволяющей оценить состояние квантово-полевого уровня биоэнергетики организма и биополевых механизмов психической саморегуляции, предоставляет принципиально новые возможности тестирования психофизического потенциала спортсменов.

К ним в первую очередь,следует отнести использование ГРВ-биоэлектрографии с целью экспресс-оценки функциональных резервов спортсмена и прогноза его психической (ментальной) готовности к достижению успеха в соревновательной деятельности. Принципиальное значение решения данной проблемы, включающее также учет индивидуальных биоритмологических особенностей организма спортсмена, не вызывает сомнений.

Второй важный фактор, определяющий значимость методов квантово-полевой диагностики в спорте высших достижений, - выявленная связь параметров БЭО-грамм с генетической предиспозицией качества психофизической выносливости. Последнее резко повышает прогностическую ценность использования технологии ГРВ-биоэлектрографии в отборе спортсменов олимпийского резерва и их специализации по видам спорта.

Кроме того, вполне вероятно, что именно на пути использования в спорте высших достижений квантовой биофизики и медицины лежат познание механизмов и разработка научно обоснованных здоровьесберегающих методов психофизической мобилизации, которые и составляют основу выдающихся достижений спортсменов в олимпийском спорте.

Авторы выражают глубокую благодарность инженерам-программистам Б. Крылову, О. Белобаба, М. Бабицкому и Д. Муромцеву за участие в разработке методов анализа БЭО-грамм, а также А. Коротковой и В. Мухину за помощь в подготовке материалов к печати.

Литература

1. Концепция развития физической культуры в Российской Федерации на период до 2005 года//Теория и практика физ. культуры. 2001, № 4, с. 2-10.

2. Артюхов В.Г., Ковалева Т.А., Шмелев В.П. Биофизика. Изд. Воронежского университета, 1994.

3. Бальсевич В.К. Контуры новой стратегии подготовки спортсменов олимпийского класса//Теория и практика физ. культуры. 2001, № 4, с. 9-10.

4. Барабаш Л.С., Барабаш О.Л., Барабаш Н.А. Хронобиологические аспекты кардиологии и кардиохирургии.- Кемерово: Летопись, 2001, с. 178.

5. Бундзен П.В., Загранцев В.В., Коротков К.Г. и др. Комплексный биоэлектрографический анализ механизмов альтернативных состояний сознания// Физиология человека. 2000. Т. 26, № 5, с. 68-77.

6. Бундзен П.В., Коротков К.Г., Баландин В.И. Инновационные процессы в развитии технологий психической подготовки и психодиагностики в олимпийском спорте//Теория и практика физ. культуры. 2001, № 5, с.12-18.

7. Бундзен П.В., Загранцев В.В., Назаров И.Б. и др. Генетическая и психофизическая детерминация квантово-полевого уровня биоэнергетики организма спортсмена//Теория и практика физ. культуры. 2002, № 6, с. 40-45.

8. Волков И.П. Спортивная психология и акмеология спорта. - СПб.: изд-во БПА, 2001, с.187.

9. Иванов К.П. Основы энергетики организма. Т. 2. - Биологическое окисление и его обеспечение кислородом. - СПб.: Наука, 1993, с. 269.

10. Каненнпасс-Риффар Р. Биология, медицина и квантовая физика. Изд-во Марко Пветтер, 1997, с.197.

11. Комарова М.И. Методика и организация отбора в училищах олимпийского резерва: Автореф. канд. дис. СПб., 1999. - 22 с.

12. Коротков К.Г. От эффекта Кирлиан к биоэлектрографии. - СПб., 1998. - 241 с.

13. Коротков К.Г. Основы ГРВ-биоэлектрографии. СПб., 2001. - 350 с.

14. Лиманский Ю.П. Гипотеза о точках акупунктуры как полимодальных рецепторах системы экоцептивной чувствительности//Физиологический журнал. 1990. Т. 36, № 4, с. 115-127.

15. Покровский В.Н. Квантовая медицина - медицина завтрашнего дня//Тр. конф. "Медэлектроника-2002". Минск, 2002, с. 28-35.

16. Рогозкин В.А. Геном человека и гены предрасположенности к мышечной деятельности //Матер. науч. итог. конф. СПбНИИФК. 2001, с. 31.

17. Рубин А.Б. Биофизика. - М.: Книжный дом, 1999.

18. Шапошникова В.И., Нарциссов Р.П., Белкина Н.В. Индивидуальный год - собственный календарь морфогенеза, заболеваний и устойчивости эффективной деятельности//Бюл. Всероссийского научного центра по безопасности БАВ. 1995, № 1, с. 60-68.

19. Bundzen P., Korotkov L., Massanova T. еt el. Diagnosis of Skilled Athletes Psycho-Physical Fitness by the Method of Dischage Visualization: 5th Annual Congres of the Sport Science/- Finland, Jyvaskyla, 2000.- P.186.

20. Gagne M. Mental Training in Sport. - Еrebro: Academy of Mental Training, 2000. - P. 56.

21. Dudnik Ad. Birth date and sporting success. - Nature, 1994, v. 368. - P. 592.

22. Unestahl L.-E. Integrerad Mental Training. Еrebro: Vieje., Int., 1996.- 240 p.


1 Под психофизическим потенциалом понимается уровень психоэнергетических функциональных резервов организма, генетически детерминированных по своей природе и относительно устойчиво модифицируемых в ходе долговременной адаптации к факторам тренировочных нагрузок.


 Home На главную   Library В библиотеку   Forum Обсудить в форуме  up

При любом использовании данного материала ссылка на журнал обязательна!